Bręsta naujas skandalas? „Boeing 737 Next Generation“ sparnų konstrukcijoje aptikti pavojingi įtrūkimai

„Boeing 737 Next Generation“ - tai trečioji B737 karta, gaminama nuo 1996 metų. Kaip galite įsivaizduoti, tai yra beprotiškai populiarūs lėktuvai. Jei dažnai keliaujate, jums neabejotinai yra tekę sėdėti ir 737NG salone. Iš viso pagaminta daugiau nei septyni tūkstančiai šio tipo lėktuvų, o jų tarnavimo laiką tikriausiai pratęsė ir ketvirtosios 737 kartos, žinomos kaip 737 MAX, problemos. Tačiau dabar 737NG turi savų bėdų - sparnų konstrukcijoje pastebėti įtrūkimai.

737NG ir 737 MAX savo esme yra beveik identiški lėktuvai. Kitaip tariant, kurdama ketvirtąją populiariausio savo lėktuvo kartą „Boeing“ pasirinko evoliucijos kelią. Orlaivis gavo naujus, ženkliai efektyvesnius „CFM International LEAP-1B“ variklius, patobulintą vingletų dizainą ir dar keletą atnaujinimų. Pirmieji „Boeing 737 MAX“ pas pirkėjus atskrido dar 2017 metais, bet dabar, kaip žinote, 737 MAX lėktuvai tupi ant žemės ir laukia, kuomet jiems vėl bus leista dirbti. Ar panašus likimas laukia ir tūkstančių 737NG?

Tikrai ne, tačiau aptikti defektai yra labai rimti ir „Boeing“ kompanijos įvaizdžiui tai tikrai nepadės.

Kokie defektai aptikti „Boeing 737 Next Generation“ konstrukcijoje?

Praėjusio mėnesio pabaigoje „Boeing“ informavo JAV Federalinę aviacijos administraciją (FAA) apie aptiktus įtrūkimus 737NG konstrukcijoje. FAA iš karto išplatino rekomendacija oro linijoms apžiūrėti savo lėktuvus.

Pasaulyje šiuo metu skraido daugiau nei 6 tūkstančiai 737NG lėktuvų. (PlanespotterA320, Wikimedia)

„Boeing“ inžinieriai defektus aptiko modifikuodami stipriai naudotą 737NG. Tolesnis tyrimas parodė, kad panašūs įtrūkimai egzistuoja ir dar keliuose šio tipo lėktuvuose, todėl gamintojas ir nusprendė kreiptis į FAA. Pastaroji padarė tai, ką ir privalo - paragino tikrinti savo lėktuvus, taisyti aptiktus defektus ir apie viską informuoti.

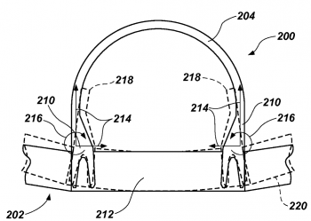
Įtrūkimai aptikti komponentuose, švelniai vadinamuose „agurkėlių šakutėmis“. Tai - šakutinė jungtis tarp fiuzeliažo ir sparno konstrukcijos. Ši detalė padeda konstrukcijai susidoroti su aerodinaminėmis jėgomis, kurios tarsi plėšia sparnus nuo lėktuvo. Tos šakutės taip pat padeda atlaikyti nusileidimo metu patiriamus stiprius sparnų judesius. Iš tikrųjų, „agurkėlių šakučių“ tarnavimo laikas priklauso ne nuo skrydžio valandų, o nuo nusileidimų skaičiaus - be įtrūkimų šis komponentas turėtų išgyventi bent 90 tūkstančių pakilimo/tūpimo ciklų. Kitaip tariant, tai nėra viena iš tų detalių, kuri dažnai sulauktia techninio personalo dėmesio.

Pastebėti defektai kelia nerimą. Nors FAA išplatintame pareiškime pabrėžiama, kad „Boeing“ įtrūkimus pastebėjo stipriai naudotame lėktuve, tas orlaivis nebuvo net priartėjęs prie savo tarnybos pabaigos. Ir, kaip galite įsivaizduoti, detalės, kurios tvirtina sparnus prie fiuzeliažo yra kritiškai svarbios, todėl dėl šių naujienų kylantis nerimas yra pagrįstas ir suprantamas.

Ar tai rimta problema?

Tos šakutinės jungtys lėktuvams yra kritiškai svarbios. Jos atlaiko sparnų judesių generuojamas apkrovas ir iš esmės išlaiko sparną pritvirtintą prie fiuzeliažo. „Boeing 737NG“ turi keturias tokias „agurkėlių šakutes“. Jų pakeitimas yra daug pastangų reikalaujanti, bet būtina procedūra.

Patento iliustracija, kurioje matomos dvi tokios šakutės. (Boeing)

Inžinieriai įtrūkimus šiuose sujungimuose lygina su įtrūkimais puodelio rankenoje. Galbūt ta rankena laikysis dar ilgai, o glabūt ji visiškai nulūš ir jūs kava pagirdysite savo kelnes. Taigi, vos tik aptinkti, tokie defektai privalo būti ištaisyti.

Kaip į tai reagavo „Boeing“?

Kaip minėta aukščiau, gamintojas pats pastebėjo defektą modifikuodamas vieną 737NG lėktuvą. „Boeing“ iš karto pradėjo tyrimą, kuris atskleidė, jog tai nėra pavienis defektas. Kompaniją galima tik pagirti už greitą ir teisingą reakciją.

„Boeing“ išplatino pranešimą, kuriame tarp įprastų „saugumas mums svarbiausias“ klišių taip pat pabrėžiama, jog gamintojas pats bendrauja ne tik su FAA, bet ir su oro linijomis, naudojančiomis 737NG lėktuvus.

Pasak „Boeing“, įtrūkimai buvo pastebėti tik keliuose modifikuojamos lėktuvuose - problemos mastai, atrodo, nėra didžiuliai ir 737NG toliau skraidys įprasta tvarka. Na, žinoma, nebent oro linijos, sekančios FAA rekomendacijas, ims masiškai pranešinėti apie aptiktus pavojingus defektus. Svarbu pabrėžti, kad tai nėra gamybos brokas - gamyklas 737NG palieka be jokių įtrūkimų. Tačiau tos šakutinės jungtys apkrovas atlaiko prasčiau nei buvo planuojama, todėl „Boeing“ turės ieškoti problemos priežasčių.

„Boeing“ šiuo metu aiškinasi problemos mastą. (Boeing Dreamscape, Wikimedia)

Galiausiai, „Boeing“ taip pat pranešė, jog ši problema nepalietė giminingų 737 MAX ir „P-8 Poseidon“ lėktuvų. Kitaip tariant, tie nenumatyti įtrūkimai, pagal dabar turimus duomenis, yra pakankamai reti.

O kaip 737NG lėktuvai Europoje?

Pasaulyje yra daugiau nei 6 tūkstančiai naudojamų „Boeing 737 Next Generation“ lėktuvų ir nemaža dalis jų skraido ten, kur FAA jurisdikcija nesiekia. Štai „Ryanair“, airiškos žemų kainų oro linijos, valdo didžiausia 737-800 flotilę pasaulyje - šiai bendrovei priklauso daugiau nei 4 šimtai šio tipo orlaivių, skraidančių Europoje, Šiaurės Afrikoje ir Artimuosiuose Rytuose. Taigi, natūraliai kyla klausimas, ar FAA rekomendacijos palies ir Europos bendroves.

„Ryanair“ valdo didžiausia 737-800 flotilę pasaulyje. (Adrian Pingstone, Wikimedia)

Ir atsakymas yra paprastas - be abejo, kad palies. FAA yra JAV institucija, tačiau jos įtaka neabejotinai peržengia valstybių sienas. Juolab, kad kalbame apie technines lėktuvų problemas - tokie patys lėktuvai skraido ir JAV, ir Europoje. Patikrinimus turės atlikti ir Europos bendrovės, jog įsitikintų, kad tokių problemų jų orlaiviai neturi. Simpleflying.com portalas prognozuoja, kad jei problema bus aptikta didesniame lėktuvų skaičiuje, galima tikėtis nesklandumų ne vienų oro linijų tvarkaraščiuose.

Į viešumą galimos 737NG problemos iškilo tik praėjusio mėnesio pabaigoje, todėl sunku prognozuoti, kokia linkme pasisuks ši istorija. Jei įtrūkimai nebus aptikti didesniame lėktuvų skaičiuje, tikriausiai apie tai daugiau ir negirdėsime. Tačiau jei ši problema iš tikrųjų palietė daugiau 737NG orlaivių, gali prasidėti nemenkas chaosas.